
Mini Quartz Distiller
Patent Registration No. 152846
| Sl.No. |
Parameters |
Values |
| 1 |
Specific Conductivity |
0.1 - 0.5 µS/cm |
| 2 |
Total Solids |
0.1 mg /ltr |
| 3 |
Silica |
<0.01 mg / ltr |
| 4 |
KmnO4 Color retention |
60 minutes |
| 5 |
UV Absorbance at 254 nm |
0.007 |
| 6 |
TOC |
Not detected |
| 7 |
Endotoxin |
<0.25 Eu / ml |
| 8 |
Yeast & Mould |
Zero |
| 9 |
Total Plate Count |
Zero |
| 10 |
Standard Plate Count |
Zero |
| 11 |
Distillate Quality |
Pyrogen Free |
| 12 |
Organic Matter |
NIL |
| (Standard Test Conditions apply) - Treated water used. |
|
|
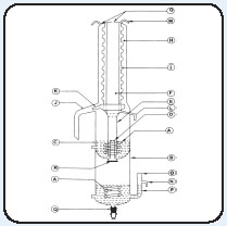
DEMOUNTABLE MODEL
STANDARD PANEL SERIES
Patent Registration No. 155815
A = Quartz Spiral Heaters
B&C = Boiling chambers.
D = Overflow Control tube.
E = Vapour tube.
F = Inner Condenser tube.
G = Pressure vents.
H = Outer cooling Space
I = Cooling Water Jacket.
J = Delivery Tube.
K = Distillate Gutter
L = Cooling Water inlet to Condenser.
M = Cooling Water outlet from Condenser.
N = Feed inlet over flow.
O = Feed Inlet.
P = Feed Inlet Tube.
Q = Bottom Cup.
The given test results have been observed under standard laboratory test conditions.
Please note water is an excellent solvent.
Borosilicate Glass dissolves in water and conductivity of water
deteriorates. It is not advisable to use a Storage vessel in glass where
high purity low conductivity water is desired.
*** We recommend a Quartz Reservoir for storage of High purity water *** |